2025首发最新完整繁体大富彩票二开修复优化改版 /大发彩票源码/大富彩票源码/带USDT/钱包充取/改单/预设功能/系统和官方系列彩
可以自由添加彩种,系统添加彩种随意无限制
可以自由设置开奖结果,不设置系统随机开奖,可以修改下注号码,可改单
SG系列的彩+急速时时彩幸运飞艇 SG飞艇等等,纯彩系统
采集方面用易语言采集器 采集稳定 就是时间长了占内存,可以增加任务计划,让其自动定时重起,可解决
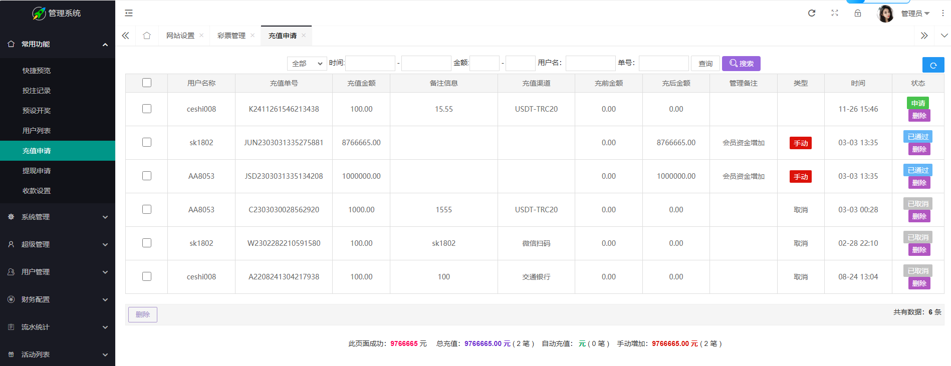
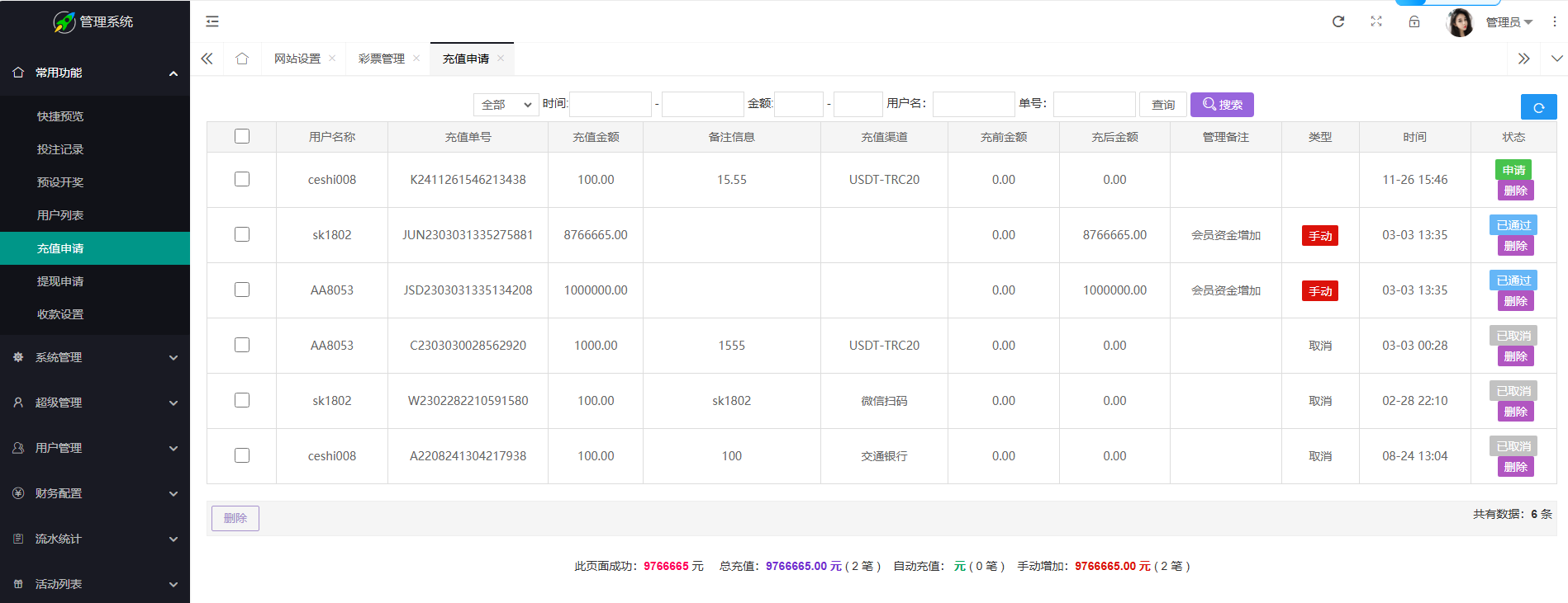
充取方面 增加了USDT和钱包充取
声明:本站所有文章,如无特殊说明或标注,均为本站原创发布,如遇到任何问题点击右上角联系TG客服!
资源下载
下载价格2110 USDT